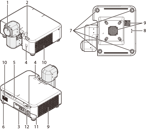
各部名称と機能

| No. | 名称 |
|---|---|
| 1 | レンズ |
| 2 | インジケーターランプ |
| 3 | 操作パネル |
| 4 | リモコン受光部 |
| 5 | 接続端子部 |
| 6 | セキュリティスロット * |
| No. | 名称 |
|---|---|
| 7 | 調整脚 |
| 8 | セキュリティバー |
| 9 | 吸気口 |
| 10 | 排気口 |
| 11 | 電源端子 |
| 12 | 主電源 |
* Kensington社製のマイクロセーバー・セキュリティシステム対応のセキュリティスロットです。
操作パネル
本体の操作パネルで本機を操作します。操作パネルの各ボタンの名称と機能は以下のようになります。

| No. | ボタン名称 | 機能 |
|---|---|---|
| 1 | 本機の電源をオン/待機状態 (スタンバイ) にします。 |
|
| 2 | MENU | 各種設定・調整用のメニュー画面を表示します。 |
| 3 | BACK | メニュー操作時に一つ前のメニュー階層に戻ります。 |
| 4 | ▲▼◀▶ (セレクター) | メニュー操作時に使用します。 |
| 5 | ENTER | メニュー操作で選択した選択項目を決定します。 |
| 6 | INPUT | 入力機器を切り替えます。 |
| 7 | FOCUS1/2 | FOCUS1/2を切換えて、フォーカスを調整します。 |
| 8 | SHIFT | レンズシフトを調節します。 |
| 9 | ZOOM | レンズズームを調節します。 |
| 10 | SHUTTER | 映像と音声を一時的に消します。再度ボタンを押すと投写します。 |
| 11 | TEST PATTERN | テストパターンを表示し、 ◀▶ キーでパターンを切り替えます。 |
ロックレバー
投写レンズ部は、回転式となっており、マウント軸、レンズ軸にそれぞれロック機構がついています。次の⼿順で回転させてください。また、投写時は、必ずロックをかけてください。
d注意
- 投写方向やレンズシフト調整によっては、映像がケラレる場合があります。
- レンズを回転させると前回のシフト位置に自動的に移動(画⾯が動く)します。レンズシフト中(画⾯が動いているとき)は、レンズを回転させないでください。
- レンズを回転するときは、レンズ部を支えてゆっくりと回転させてください。
- レンズの向きを変えるときは、周囲に⼗分注意してください。投写光が⽬に⼊ると、視⼒障害などの原因になることがあります。
ロック解除━マウント軸ロックレバーによる回転
ロック解除-マウント軸ロックレバーを押してロックを解除すると、レンズマウント部を軸にして90°回転できます。ロックレバーを引くと、ロックがかかります。

ロック解除━レンズ軸ロックレバーによる回転
ロック解除-レンズ軸ロックレバーを FREE にスライドさせ、ロックを解除すると、レンズ部を軸にして、90°ずつ360°回転できます。

レンズ軸ロックレバーを FREE にするとレンズが回転でき、 LOCK にするとロックがかかります。
d注意
レンズを下に向けたままの状態で、レンズを収納位置に回転さないでください。レンズに傷や破損の恐れがあります。

d注意:運搬の際は本機の底面を持つようにしてください。投写レンズ部や投写レンズ周辺の開口部を持たないようにしてください。破損の原因になります。

-
bメモ:全方位360°の設置に対応しています。
接続端子部
接続する機器に応じた接続端子にそれぞれのケーブルで接続します。

| 接続名称 | 機能 | ||
|---|---|---|---|
| 映像入力 | 1 | HDMI 1 | HDMI 2.0 (HDCP2.2 に対応、3840×2160 60P 入力に対応) |
| 2 | HDMI 2 | HDMI 2.0 (HDCP2.2 に対応、3840×2160 60P 入力に対応) | |
| 3 | HDBaseT | ビデオ/オーディオ/接続制御用 RJ-45 3840×2160 60P 入力に対応) | |
| 映像出力 | 4 | HDMI出力 | HDMI 出力 (HDCP 2.2) |
| オーディオ出力 | 5 | 音声出力 | 3.5 mm ステレオミニジャック |
| 制御入出力 | 6 | リモート入力 | 3.5mmステレオミニジャック |
| 7 | USB 2 | メンテナンス用 TypeB | |
| 3 | HDBaseT | プロジェクター制御用 RJ-45 | |
| 8 | LAN | ネットワーク接続用 RJ-45 (10Base-T/100Base-TX) | |
| 9 | RS-232 | プロジェクター TypeA 制御用 D-Sub9 Pin | |
| その他 | 10 | USB 1 (電源 5V1.5A) | DC 5V 1.5A (最大) |
d注意
- 接続するときは、本機や接続する機器の電源を待機状態 (スタンバイ) にしてください。 すべての接続が終わったあとで、最初に本機の電源を入れ、接続した機器の電源をオンにします。
- 接続機器によっては機器専用のケーブルを使用したり、 変換プラグやアダプターが必要となる場合があります。
インジケーターランプ
インジケーターランプ(ON/STANDBY、TEMP、STATUS)の点灯/点滅/消灯で、プロジェクターの状態がわかります。

各インジケーターランプとプロジェクターの状態は以下のようになります。
| ランプ | |||
|---|---|---|---|
| ON/STANDBY | TEMP | STATUS | プロジェクターの状態 |
| ☀赤点灯 | - | - | 待機状態(スタンバイ) |
| ☀緑点滅 1 | - | - | 起動中 |
| ☀緑点灯 | - | - | 電源オン |
| ☀赤点滅 1 | - | - | 待機状態(ネットワークスタンバイ) |
| - | ☀オレンジ点滅 1 | - | シャットダウン中 |
| ☀緑点灯 | ☀緑点灯 | - | シャッター機能 オン |
| - | ☀緑点滅 2 | - | 通信中 |
| ☀オレンジ点滅 1 | ☀オレンジ点滅 1 | - |
ファームウェアアップデート待機中 |
| ☀赤点灯 | ☀緑点灯 | - |
工場出荷状態にリセット |
| ☀緑点灯 | ☀赤点滅 1 | ☀オレンジ点滅 1 | 本体の温度上昇 |
| ☀緑点滅 2 | - | ☀オレンジ点滅 2 | レーザー光源エラー |
| ☀緑点滅 2 | ☀赤点滅 1 | ☀オレンジ点滅 2 | DMDエラー |
| - | - | ☀オレンジ点灯 | ファン1エラー |
| - | - | ☀オレンジ点滅 1 | ファン2エラー |
| - | - | ☀オレンジ点滅 2 | ファン3エラー |
| ☀緑点灯 | - | ☀オレンジ点灯 | ファン4エラー |
| ☀緑点灯 | - | ☀オレンジ点滅 1 | ファン5エラー |
| ☀緑点灯 | - | ☀オレンジ点滅 2 | ファン6エラー |
| ☀緑点滅 1 | - | ☀オレンジ点灯 | ファン7エラー |
| - | ☀赤点灯 | ☀オレンジ点灯 | ファン8エラー |
| ☀緑点滅 1 | - | ☀オレンジ点滅 1 | フィルターホイールエラー |
| ☀緑点滅 1 | - | ☀オレンジ点滅 2 | 蛍光体ホイールエラー |
| ☀オレンジ点灯 | - | ☀オレンジ点灯 | 電源エラー |
bメモ
LEDインジケーターは3つの点滅モードに対応しています。
- 点滅 1:0.5秒に1回点滅します。
- 点滅 2:0.04秒に1回点滅します。
- エラーが発生した場合は、購入先にお問い合わせください。
をクリックしてください。