幾何学歪補正範囲
bメモ
数値は近似計算のため数%の差があります。
| 台形補正 *1 | ||
|---|---|---|
| (1)水平 台形 | (2)垂直 台形 | |
| レンズシフト位置 | A補正角度 | B補正角度 |
V(垂直)±0%、H(水平)±0%
|
±5° | ±5° |
V(垂直)+50%、H(水平)+0%
|
ー | ー |
本体メニュー「キーストーン」機能を使った場合の台形歪補正角度です。
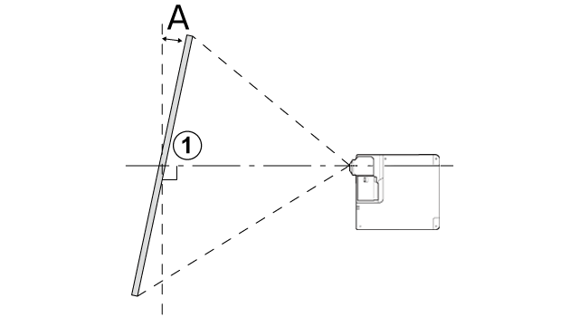
| (1)水平 台形補正 [真上から見た図] |
|---|
A スクリーン
|
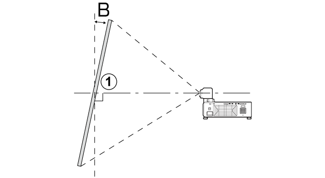
| (2)垂直 台形補正 [横から見た図] |
|---|
A スクリーン
|
| 曲面スクリーン補正 *2 (R/L最小値) |
||||
|---|---|---|---|---|
| レンズシフト位置 | (3) 水平 凹面 |
(4) 垂直 凹面 |
(5) 水平 凸面 |
(6) 垂直 凸面 |
V(垂直)±0%、H(水平)±0%
|
1.10 | 0.73 | 4.83 | 1.86 |
V(垂直)+50%、H(水平)+0%
|
2.69 | 1.38 | 4.83 | 3.11 |
PCソフトウェア 「Warping and Blending Tool」のWarping機能を使った場合の幾何学歪補正範囲です(FP-ZUH6000のみ)。補正量が大きくなるとフォーカス調整が合わない場合があります。
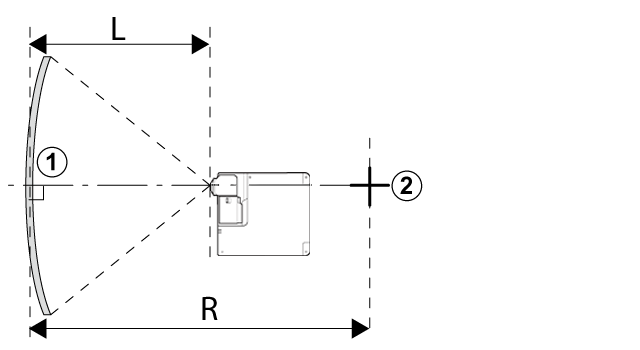
| (3)水平 凹面補正 [真上から見た投写図] |
|---|
A スクリーン B 円弧の中心 L:投写距離 R:円弧の半径
|
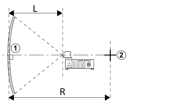
| (4)垂直 凹面補正 [横から見た投写図] |
|---|
A スクリーン B 円弧の中心 L:投写距離 R:円弧の半径
|
| (5)水平 凸面補正 [真上から見た投写図] |
|---|
A スクリーン B 円弧の中心 L:投写距離 R:円弧の半径
|
| (6)垂直 凸面補正 [横から見た投写図] |
|---|
A スクリーン B 円弧の中心 L:投写距離 R:円弧の半径
|
をクリックしてください。






