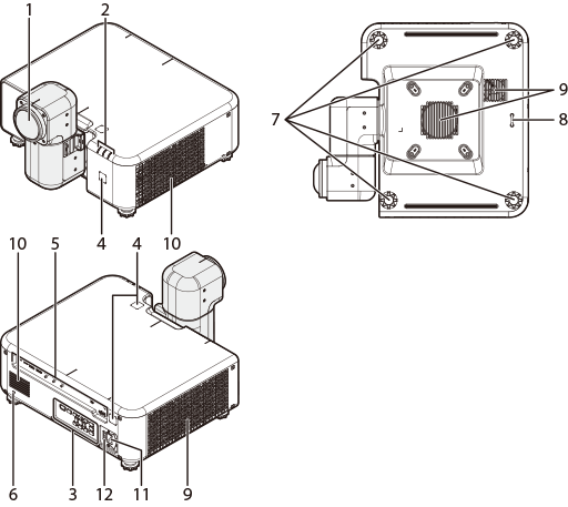
投影机部件:名称和功能

| 项目 | 名称 |
|---|---|
| 1 | 镜头 |
| 2 | 指示灯 |
| 3 | 控制面板 |
| 4 | 遥控接收器 |
| 5 | 接口(连接器)面板 |
| 6 | 安全插槽 * |
| 项目 | 名称 |
|---|---|
| 7 | 可调支脚 |
| 8 | 安全锁 |
| 9 | 进气口 |
| 10 | 排气口 |
| 11 | 电源接口 |
| 12 | 主电源 |
* 与 Kensington MicroSaver 安全系统锁兼容。
控制面板
使用控制面板执行基本操作。控制面板上的按钮名称和功能如下所示。

| 项目 | 按钮 | 功能 |
|---|---|---|
| 1 | 启动投影机电源或将其切换至待机状态。 |
|
| 2 | MENU(菜单) | 显示用于调整投影机设置的菜单。 |
| 3 | BACK(返回) | 返回上一级菜单。 |
| 4 | ▲▼◀▶(十字键) | 浏览菜单。 |
| 5 | ENTER(确定) | 选择高亮显示的菜单项目。 |
| 6 | INPUT(输入) | 选择主图像的输入。 |
| 7 | FOCUS1/2(对焦 1/2) | 按下按钮,在 FOCUS1(对焦 1)和 FOCUS2(对焦 2)之间切换。 |
| 8 | SHIFT(移位) | 调整镜头移位。 |
| 9 | ZOOM(变焦) | 调整镜头变焦。 |
| 10 | SHUTTER(快门) | 暂停投影并静音。再次按下可恢复。 |
| 11 | TEST PATTERN(测试图案) | 显示测试图案并选择 ◀▶ 键。 |
旋转镜头
镜头可以旋转,并配备机轴锁和机头锁。可按如下所示旋转镜头。使用投影机时,请务必锁定镜头。
d注意
- 根据镜头移位和朝向,投影图像的某些部分可能看不到。
- 旋转后,镜头将自动返回上一个移位位置,从而导致图像移动。镜头正在移位时(即图像正在移动时),请勿旋转镜头。
- 旋转镜头时,请将其托住并慢慢旋转。
- 旋转镜头时,请注意周围环境。产品发出的光线投射到眼睛可能会导致视力损害。
旋转机轴
按下机轴锁释放装置使机轴解锁时,机轴可旋转 90°。提起机轴锁释放装置,再次锁定机轴。

旋转机轴
将机头锁释放装置滑动至 FREE(解锁)位置使机头锁解锁时,可将投影机的机头以 90° 的增量旋转 360°。

机头锁释放装置处于 FREE(解锁)位置时,镜头可以旋转,处于 LOCK(锁定)位置时,镜头将锁定。
d注意
请勿在镜头朝下的状态下将机轴扳回存放位置。否则可能会划伤或损坏镜头。

d注意:搬运产品时,请握持其底座。请勿握持镜头或镜头周围部位。否则可能会损坏产品。

- 提示:支持 360 度自由方向投影。
接口
将各电缆连接到所连接设备的对应接口。

| 接口 | 说明 | ||
|---|---|---|---|
| 视频输入 | 1 | HDMI 1 接口 | HDMI 2.0(兼容 HDCP 2.2,接收 3840 x 2160 60P 输入) |
| 2 | HDMI 2 接口 | HDMI 2.0(兼容 HDCP 2.2,接收 3840 x 2160 60P 输入) | |
| 3 | HDBaseT 接口 | RJ-45,用于视频/音频/连接控制(接收 3840 × 2160 60P 输入) | |
| 视频输出 | 4 | HDMI OUT 接口 | HDMI OUT(HDCP 2.2) |
| 音频输出 | 5 | AUDIO OUT 接口 | 3.5 mm 立体声迷你插孔 |
| 控制输入/输出 | 6 | 遥控器输入接口 | 3.5 mm 立体声迷你插孔 |
| 7 | USB 2 接口 | Type B,用于维护 | |
| 3 | HDBaseT 接口 | RJ-45,用于投影机连接控制 | |
| 8 | LAN 接口 | RJ-45,用于网络连接(10Base-T/100Base-TX) | |
| 9 | RS-232 接口 | D-Sub 9 针,用于投影机连接控制 | |
| 其他 | 10 | USB 1 接口(电源 5V1.5A) | DC 5V 1.5A(最大) |
d注意
- 连接电缆之前,请将投影机切换到待机状态,并确认外围设备已关闭或处于待机模式。将电缆连接到两个设备之后,先启动投影机电源,然后再启动外围设备电源。
- 部分设备需要适配器和/或专用电缆。
指示灯
通过指示灯(ON/STANDBY(启动/待机)、TEMP(温度)和 STATUS(状态))的点亮、闪烁或熄灭,可显示投影机状态。

以下列出了指示灯状态所显示的投影机状态。
| 指示灯 | |||
|---|---|---|---|
| ON/STANDBY(启动/待机) | TEMP(温度) | STATUS(状态) | 投影机状态 |
| ☀红色待机 | - | - | 待机状态 |
| ☀绿色闪烁 1 | - | - | 预热 |
| ☀绿色待机 | - | - | POWER ON(启动电源) |
| ☀红色闪烁 1 | - | - | 通信待机 |
| - | ☀橙色闪烁 1 | - | 正在冷却 |
| ☀绿色待机 | ☀绿色待机 | - | AV 静音(快门)已打开 |
| - | ☀绿色闪烁 2 | - | 投影机通信 |
| 闪烁 1 | 闪烁 1 | - |
防烧屏模式待机 |
| ☀红色待机 | ☀绿色待机 | - |
复位到出厂设置 |
| ☀绿色待机 | ☀红色闪烁 1 | ☀橙色闪烁 1 | 系统温度过高 |
| ☀绿色闪烁 2 | - | ☀橙色闪烁 2 | LED 错误 |
| ☀绿色闪烁 2 | ☀红色闪烁 1 | ☀橙色闪烁 2 | DMD 错误 |
| - | - | ☀橙色待机 | 风扇 1 错误 |
| - | - | ☀橙色闪烁 1 | 风扇 2 错误 |
| - | - | ☀橙色闪烁 2 | 风扇 3 错误 |
| ☀绿色待机 | - | ☀橙色待机 | 风扇 4 错误 |
| ☀绿色待机 | - | ☀橙色闪烁 1 | 风扇 5 错误 |
| ☀绿色待机 | - | ☀橙色闪烁 2 | 风扇 6 错误 |
| ☀绿色闪烁 1 | - | ☀橙色待机 | 风扇 7 错误 |
| - | ☀红色待机 | ☀橙色待机 | 风扇 8 错误 |
| ☀绿色闪烁 1 | - | ☀橙色闪烁 1 | 滤光轮错误 |
| ☀绿色闪烁 1 | - | ☀橙色闪烁 2 | 荧光轮错误 |
| ☀橙色待机 | - | ☀橙色待机 | 断电 |
b备忘录
LED 指示灯支持三种闪烁模式:
- 闪烁 1:每 500 毫秒闪烁一次。
- 闪烁 2:每 40 毫秒闪烁一次。
- “如果发生错误,请联系您购买产品的商家。”