几何校正范围
b提示
所用数值是近似值,与实际值存在百分之几的误差。
| 梯形失真校正*1 | ||
|---|---|---|
| (1)水平 | (2)垂直 | |
| 镜头移位位置 | 校正角度“A” | 校正角度“B” |
±0% 垂直(V),±0% 水平(H)
|
±5° | ±5° |
+50% 垂直(V),±0% 水平(H)
|
ー | ー |
通过投影机菜单应用的梯形失真校正量
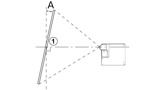
| (1)水平梯形失真校正 (俯视图) |
|---|
A 屏幕
|
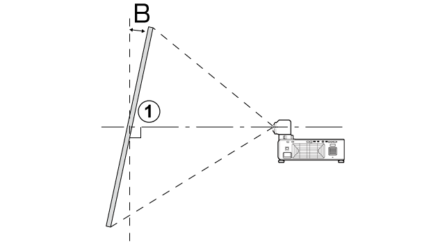
| (2)垂直梯形失真校正 (俯视图) |
|---|
A 屏幕
|
| 屏幕曲率校正*2 (最小 R/L 值) |
||||
|---|---|---|---|---|
| 镜头移位位置 | (3) 水平 |
(4) 垂直 |
(5) 水平 |
(6) 垂直 |
±0% 垂直(V),±0% 水平(H)
|
1.10 | 0.73 | 4.83 | 1.86 |
+50% 垂直(V),±0% 水平(H)
|
2.69 | 1.38 | 4.83 | 3.11 |
使用“Warping and Blending Tool(变形和融合工具)”计算机软件变形功能(仅适用于 FP-ZUH6000)应用的校正量。当校正值较大时,可能无法通过调整对焦获得理想效果。
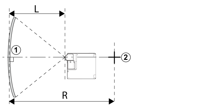
| (3)凹面水平曲率校正 (俯视图) |
|---|
A 屏幕 B 弧心 L:投射距离 R:圆弧半径
|
| (4)凹面垂直曲率校正 (侧视图) |
|---|
A 屏幕 B 弧心 L:投射距离 R:圆弧半径
|
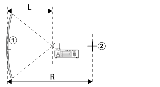
| (5)凸面水平曲率校正 (俯视图) |
|---|
A 屏幕 B 弧心 L:投射距离 R:圆弧半径
|
| (6)凸面垂直曲率校正 (侧视图) |
|---|
A 屏幕 B 弧心 L:投射距离 R:圆弧半径
|







