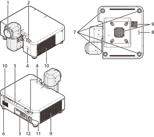
Parts of the Projector: Names and Functions

| Item | Name |
|---|---|
| 1 | Lens |
| 2 | Indicator Lamps |
| 3 | Control panel |
| 4 | Remote receiver |
| 5 | Interface (connector) panel |
| 6 | Security slot * |
| Item | Name |
|---|---|
| 7 | Adjustable feet |
| 8 | Security lock |
| 9 | Intake vents |
| 10 | Exhaust vent |
| 11 | Power connector |
| 12 | Main power |
* Compatible with Kensington MicroSaver security system locks.
Control panel
Basic operations are performed using the control panel. The names and functions of the buttons on the control panel are given below.

| Item | Button | Function |
|---|---|---|
| 1 | Turn the projector on or switch it to standby. |
|
| 2 | MENU | Display the menus used to adjust projector settings. |
| 3 | BACK | Return to the previous menu. |
| 4 | ▲▼◀▶ (Cross key) | Navigate the menus. |
| 5 | ENTER | Select the highlighted menu item. |
| 6 | INPUT | Select an input for the main image. |
| 7 | FOCUS1/2 | Press a button to switch between FOCUS1 and FOCUS2 |
| 8 | SHIFT | Adjust Lens shift. |
| 9 | ZOOM | Adjust Lens zoom. |
| 10 | SHUTTER | Temporarily suspend projection and mute audio. Press again to resume. |
| 11 | TEST PATTERN | Display a test pattern and choose the ◀▶ key. |
Rotating the Lens
The lens can be rotated and is equipped latches for the arm and projector head. Rotate the lens as described below. Be sure to latch the lens while projector is in use.
dCAUTIONS
- Some portions of the projected image may not be visible depending on lens shift and the orientation of the lens.
- When rotated, the lens automatically returns to the previous shift position, causing the picture move. Do not rotate the lens while lens shift is in progress (i.e., while the image is moving).
- When rotating the lens, keep it supported and rotate it slowly.
- Pay attention to your surroundings when rotating the lens. Light from the product projected into the eyes could cause visual impairment.
Rotating the Arm
When the arm latch is disengaged by pressing the arm latch release, the arm can be rotated 90°. Lift the latch release to latch the arm once more.

Rotating the Arm
When the head latch is disengaged by sliding the head latch release to the FREE position, the projector head can be rotated 360° in 90° increments.

The lens can be rotated when the head latch release is in the FREE position and latches when the release is in the LOCK position.
dCAUTIONS
Do not return the arm to the storage position with the lens facing down. Failure to observe this precaution could scratch or break the lens.

dCAUTIONS: When transporting the product, hold it by its base. Do not hold it by the lens or the opening around the lens. Failure to observe this precaution could damage the product.

-
TIP: 360 degrees projection with free orientation.
Connectors
Connect each cable to the appropriate connector for the connected device.

| Connector | Description | ||
|---|---|---|---|
| VIDEO IN | 1 | HDMI 1 Connector | HDMI 2.0 (compatible with HDCP 2.2, accepts 3840 x 2160 60P input) |
| 2 | HDMI 2 Connector | HDMI 2.0 (compatible with HDCP 2.2, accepts 3840 x 2160 60P input) | |
| 3 | HDBaseT Connector | RJ-45 for video/audio/connection control (accepts 3840 × 2160 60P input) | |
| VIDEO OUT | 4 | HDMI OUT Connector | HDMI OUT (HDCP 2.2) |
| AUDIO OUT | 5 | Audio Out Connector | 3.5 mm stereo mini jack |
| CONTROL IN/OUT | 6 | Remote In Connector | 3.5 mm stereo mini jack |
| 7 | USB 2 Connector | Type B for maintenance | |
| 3 | HDBaseT Connector | RJ-45 for projector connection control | |
| 8 | LAN Connector | RJ-45 for network connection (10Base-T/100Base-TX) | |
| 9 | RS-232 Connector | D-Sub 9 pin for projector connection control | |
| OTHER | 10 | USB 1 Connector (Power 5V1.5A) | DC 5V 1.5A (Max) |
dCAUTIONS
- Before connecting cables, switch the projector to standby and confirm that the peripheral is either off or in standby mode. After connecting the cable to both devices, turn the projector on first and then turn on the peripheral.
- Some devices require an adapter and/or a dedicated cable.
Indicator Lamps
Projector status is shown by whether the indicator (ON/STANDBY, TEMP, and STATUS) lamps are on, flashing, or off.

The statuses shown by the condition of the indicator lamps are listed below.
| Lamp | |||
|---|---|---|---|
| ON/STANDBY | TEMP | STATUS | Projector status |
| ☀RedSteady | - | - | Standby State |
| ☀GreenFlashing 1 | - | - | Warm up |
| ☀GreenSteady | - | - | POWER ON |
| ☀RedFlashing 1 | - | - | Communication Standby |
| - | ☀OrangeFlashing 1 | - | Cooling down |
| ☀GreenSteady | ☀GreenSteady | - | AV mute (Shutter) is on |
| - | ☀GreenFlashing 2 | - | Projector communication |
| Flashing 1 | Flashing 1 | - |
Standby for Burnin |
| ☀RedSteady | ☀GreenSteady | - |
Factory Reset |
| ☀GreenSteady | ☀RedFlashing 1 | ☀OrangeFlashing 1 | System Over Temp |
| ☀GreenFlashing 2 | - | ☀OrangeFlashing 2 | LED Error |
| ☀GreenFlashing 2 | ☀RedFlashing 1 | ☀OrangeFlashing 2 | DMD Error |
| - | - | ☀OrangeSteady | Fan 1 Error |
| - | - | ☀OrangeFlashing 1 | Fan 2 Error |
| - | - | ☀OrangeFlashing 2 | Fan 3 Error |
| ☀GreenSteady | - | ☀OrangeSteady | Fan 4 Error |
| ☀GreenSteady | - | ☀OrangeFlashing 1 | Fan 5 Error |
| ☀GreenSteady | - | ☀OrangeFlashing 2 | Fan 6 Error |
| ☀GreenFlashing 1 | - | ☀OrangeSteady | Fan 7 Error |
| - | ☀RedSteady | ☀OrangeSteady | Fan 8 Error |
| ☀GreenFlashing 1 | - | ☀OrangeFlashing 1 | Filter wheel Error |
| ☀GreenFlashing 1 | - | ☀OrangeFlashing 2 | Phosphor wheel Error |
| ☀OrangeSteady | - | ☀OrangeSteady | Power Lost |
bMEMO
The LED indicator supports three flashing modes:
- Flashing 1: Blinks once every 500 milliseconds.
- Flashing 2: Blinks once every 40 milliseconds.
- "If error occur, please contact the place of purchase."
.