Geometric Correction Range
bTIP
Figures are approximations and may vary from the actual values by a few percent.
| Keystone correction *1 | ||
|---|---|---|
| (1) Horizontal | (2) Vertical | |
| Lens shift position | Correction angle “A” | Correction angle “B” |
±0% vertical (V), ±0% horizontal (H)
|
±5° | ±5° |
+50% vertical (V), ±0% horizontal (H)
|
ー | ー |
Amount applied using Keystone in the projector menus.
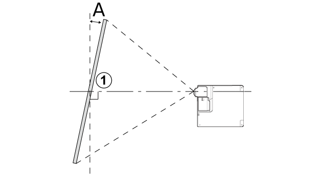
| (1) Horizontal keystone correction (top view) |
|---|
A Screen
|
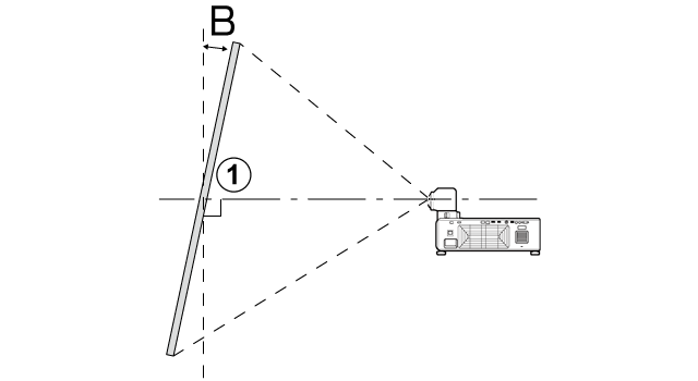
| (2) Vertical keystone correction (top view) |
|---|
A Screen
|
| Screen curvature correction *2 (minimum R/L value) |
||||
|---|---|---|---|---|
| Lens shift position | (3) Horizontal |
(4) Vertical |
(5) Horizontal |
(6) Vertical |
±0% vertical (V), ±0% horizontal (H)
|
1.10 | 0.73 | 4.83 | 1.86 |
+50% vertical (V), ±0% horizontal (H)
|
2.69 | 1.38 | 4.83 | 3.11 |
Amount applied using the “Warping and Blending Tool” computer software’s warping feature (FP-ZUH6000). Adjustments to focus may fail to produce the desired results at higher values.
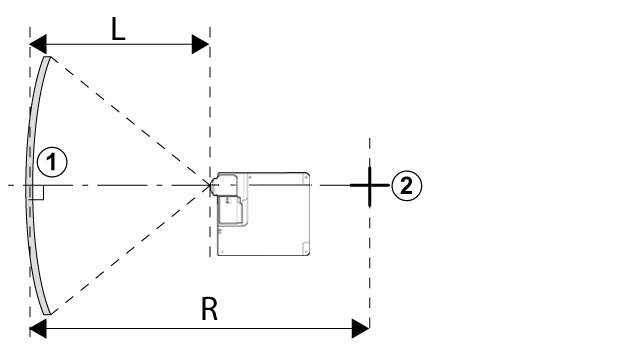
| (3) Concave horizontal curvature correction (top view) |
|---|
A Screen BArc center L: Throw distance R: Arc radius
|
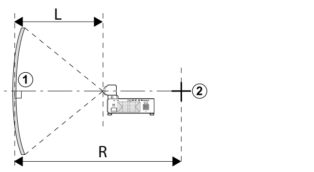
| (4) Concave vertical curvature correction (side view) |
|---|
A Screen BArc center L: Throw distance R: Arc radius
|
| (5) Convex horizontal curvature correction (top view) |
|---|
A Screen BArc center L: Throw distance R: Arc radius
|
| (6) Convex vertical curvature correction (side view) |
|---|
A Screen BArc center L: Throw distance R: Arc radius
|
.






